Студопедия

Мы поможем в написании ваших работ!




ТРИГГЕРЫ И СХЕМЫ НА ИХ ОСНОВЕ

 

Цель работы: получение практических навыков в работе с триггерами и закрепление знаний теоретической части курса.

 

1. Макетная панель

 

Блок-схема макетной панели показана на рис. 1. Рассмотрим отдельные компоненты блок-схемы.

Б.П. - представляет собой обычный лабораторный блок питания, который подключается к монтажной панели через стандартный разъем.. Блок питания может быть любым, позволяющим получить на выходе постоянное стабилизированное напряжение 5 В ± 5 % при токе порядка 1 А. Выходные цепи блока питания должны быть защищены от перегрузок и коротких замыканий.

З.Г. - задающий генератор. В любительской и технической литературе довольно часто приводятся различные схемы генераторов на логических элементах И-НЕ (интегральная микросхема К155ЛА3). Принцип действия генератора прямоугольных импульсов поясняет рис. 2. На трех инверторах собран мультивибратор. Частоту генератора можно изменять в широких пределах подбором емкости конденсатора и сопротивления резистора. Генерируемая частота обратно пропорциональна произведению номиналов этих деталей, т.е. постоянной времени цепи обратной связи. Частота зависит и от напряжения питания - с его понижением частота падает.

Частота генератора определяется формулой f = 1 / ( 2RC ). Пользуясь этим соотношением легко определить номиналы R и C для получения заданной частоты. Для наших целей частота генератора должна быть в пределах 0,5 – 5 Гц, следовательно R = 100 – 1100 Ом, и C = 1000 мкФ.

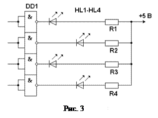
Б.И. - блок индикации. Для индикации состояний триггеров использованы светодиоды. Смысл индикации состоит в том, чтобы визуально регистрировать уровень логической 1 на выходе триггера. Для этой цели можно использовать ту же микросхему, что и в генераторе К155ЛА3, но лучше применить специально разработанную для работы с индикаторами микросхему К155ЛА8. Она представляет собой ИС ТТЛ с открытым коллектором и повышенной нагрузочной способностью. Схема такого индикатора приведена на рис. 3.

 

М.Б. - монтажный блок. Этот блок состоит из двух интегральных микросхем К155ТМ2, содержащих в себе по два D - триггера каждый. Эти четыре триггера и являются изучаемыми приборами, которые используются в ходе лабораторной работы для сборки на их основе различных схем. Микросхемы установлены внутри макетной панели и соединены только с источником питания, остальные выводы (входы и выходы) выведены на лицевую часть панели в виде разъемов. Разъемы расположены таким образом, что вместе с условным изображением триггера образуют удобную монтажную колодку, на которой с помощью проводников ведется сборка, причем выглядит она так же как и на схеме, что облегчает сборку и уменьшает вероятность возможных ошибок.

Б.Ф.С. - блок формирования управляющих сигналов. В ходе выполнения лабораторной работы, различные схемы требуют подачи определенных сигналов на входы триггеров. Например для сброса счетчика необходимо подать на установочный вход R сигнал логического 0 или для записи 1 в регистр сдвига нужно подать на информационный вход сигнал логической 1. Для реализации этой цели использован кнопочный микропереключатель и RS-триггер дополнительной микросхемы К155ТМ2 (см. рис. 4). При поочередном соединении кнопкой входов R и S с нулевым полюсом источника питания на выходе получают перепад уровней напряжения, соответствующий сигналам 0 и 1. Более простую схему подачи управляющих импульсов использовать нельзя. В момент переключения из-за плохого контакта может возникнуть несколько импульсов, или как говорят, появляется "дребезг контактов". Использование триггера приводит к тому, что по первому же отрицательному импульсу триггер перебрасывается и на выходе возникает перепад напряжения. Этот кнопочный переключатель триггерной схемы ручной подачи импульсов будем в дальнейшем называть "кнопкой".

Для подачи уровней логических 0 и 1 в схеме имеются 2 тумблера "0 – 1" и 7 постоянных контактных гнезд, подключенных либо к общему проводу, либо (через резистор 1 кОм) к "плюсу" источника питания 5 В.

 
 

Принципиальная электрическая схема макетной панели изображена на рис. 4.

Схемы отдельных блоков рассматривались выше. Чтобы не повторяться, следует пояснить лишь те элементы, которые введенны дополнительно. Так, в схеме задающего генератора прямоугольных импульсов задействован четвертый логический элемент И-НЕ микросхемы DD1 включенный инвертором. Предназначен он для инвертирования сигнала, подаваемого на светодиод HL1 (индикатор тактовых импульсов). Это необходимо для синхронизации включения индикатора с переключением управляемого генератором триггера. Такая необходимость вызвана тем, что D - триггер, входящий в состав микросхемы К155ТМ2 реагирует не на фронт импульса, а на его спад, т.е. на изменение сигнала с высокого уровня на низкий.В блоке индикации для ограничения тока через светодиоды установлены последовательно с ними резисторы сопротивлением 330 Ом. Так же введен выключатель питающего напряжения (S1) и индикатор (HL6) состояния "включено" - "выключено". Использование выключателя позволяет отключать питание макетной панели во время монтажа схемы или внесения изменений в схему, не отсоединяя блок питания. В блоке формирования управляющих сигналов триггер DD5 формирует спад и фронт импульса на разъемах Х54 и Х55. Простое подключение выходов к массе или к плюсу источника питания невозможно, т.к. в этом случае не обеспечивается надежного однократного перепада напряжений. На разъемах Х56 и Х57 постоянно присутствуют уровни логической "1" и "0" соответственно.

Монтаж прибора произведен в металлическом (дюралюминий) корпусе со съемной нижней крышкой, что позволяет легко вскрывать корпус для ремонта и профилактики монтажной панели. Все разъемы и светодиоды жестко закреплены на лицевой части корпуса с помощью клея "ЭДП", остальные элементы схемы (интегральные микросхемы, резисторы и т.д.) расположены внутри корпуса навесным монтажом на внутренних выводах разъемов. Лицевая панель прикрыта картонным листом с условными обозначениями и листовым органическим стеклом.

 


<== предыдущая страница | следующая страница ==>
Отображение итоговых показателей обслуживания запросов | Выполнение лабораторной работы

Дата добавления: 2014-12-09; просмотров: 1077; Нарушение авторских прав




Мы поможем в написании ваших работ!
lektsiopedia.org - Лекциопедия - 2013 год. | Страница сгенерирована за: 0.691 сек.