Студопедия
rus | ua | other

Home Random lecture






ОПРЕДЕЛЕНИЕ ЦЕН И НАХОЖДЕНИЕ ФУНКЦИИ СПРОСА НА НОВЫЙ ПРОДУКТ НА ОСНОВЕ ОПРОСА ЭКСПЕРТОВ


Date: 2015-10-07; view: 426.


Данный метод определения цены нового продукта рассмотрим на следующем примере.

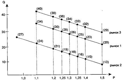
Пример. Требуется определить цену нового продукта, который намечается про­давать в трех регионах. Для решения поставленной задачи выбираются лучшие эксперты-менеджеры. Они должны оценить соотношение между ценой и объе­мом спроса, с тем чтобы выявить точки кривой «цена-объем спроса».

Экспертам предлагается дать три оценки: наименьшая реальная цена и ожида­емый при этой цене объем сбыта; наивысшая реальная цена и ожидаемый при этой цене объем сбыта; ожидаемый объем сбыта при усредненной цене. Условные результаты опроса приведены в табл. 5.42.

Таблица 5.42. Цены и ожидаемые объемы сбыта

 

Рынки Наивысшая цена и ожидаемый объем сбыта Наименьшая цена и ожидаемый объем сбыта Усредненная цена и ожидаемый объем сбыта
  Р Q Р Q Р Q
1,50 1,20 1,35
1,40 1,0 1,20
1,40 1,10 1,25

Рис. 5.24.Региональные линии «цена-объем сбыта»

400 Глава 5. Маркетинг взаимодействия: ценовая политики

Рис. 5.25.Агрегированная линия «цена-объем сбыта»

Представим результаты опроса графически (рис. 5.24). Применяемая для всех регионов единая цена объединяет оцениваемые объемы сбыта в агрегированную линию «цена-объем сбыта» (рис. 5.25). Агрегированный объем сбыта представ­лен в табл. 5.43.

Наибольшая сумма покрытия достигнута при цене 1 руб. 40 коп.


5.5. Методы ценообразования



Таблица 5.43. Единая цена и агрегированный объем сбыта

 

Цена, руб. 1,50 1,40 1,35 1,30 1,25 1,20 1,10
Агрегированный объем сбыта, ед.

Предположим, что переменные затраты равны 0,55 руб., тогда суммы покры­тия составят см. табл. 5.44.



Таблица 5.44. Суммы покрытия

На основе полученных агрегированных данных (табл. 5.43) можно найти фун­кцию спроса:

 

Цена, руб. 1,50 1,40 1,35 1,30 1,25 1,20 1,10
Агрегированный объем сбыта, ед.
Переменные затраты, руб. 0,55 0,55 0,55 0,55 0,55 0,55 0,55
Сумма покрытия, руб. 58,9 59,5 59,2 58,5 58,1 57,85 53,9

цены на 1% ведет к снижению объема спроса на 1,44%.

Практическое применение данного метода показало, что для повышения каче­ства информации необходимо проводить следующие мероприятия:

1) разрабатывать опросный лист, который должен в максимальной мере соответ­
ствовать конкретной ситуации;

2) опрашивать не менее 10 экспертов;

3) организовать обсуждение несовпадающих результатов со всеми опрашиваемы­
ми экспертами с целью достижения согласия. Это дает лучшие результаты, чем
простой подсчет средней величины из отдельных оценок;

4) привлекать экспертов, которые выполняют различные функции и представля­
ют различные иерархические уровни предприятия.

Данный опрос прост и может применяться для многих видов продукции. Недо­статком метода является то, что он базируется на внутренней информации и не учитывает мнение потребителей. Здесь только предполагается, что эксперты хо­рошо знакомы со своими рынками и потребителями. Однако в некоторых случа-



Глава 5. Маркетинг взаимодействия: ценовая пдлитп&а


ях оценки экспертов оказываются полностью неверными. Этот метод хорошо ра­ботает на промышленном рынке с небольшим числом потребителей.


<== previous lecture | next lecture ==>
Методы ценообразования | НА ОСНОВЕ ТЕСТА «ЦЕНА-ГОТОВНОСТЬ КУПИТЬ»
lektsiopedia.org - 2013 год. | Page generation: 0.559 s.