Студопедия

Мы поможем в написании ваших работ!




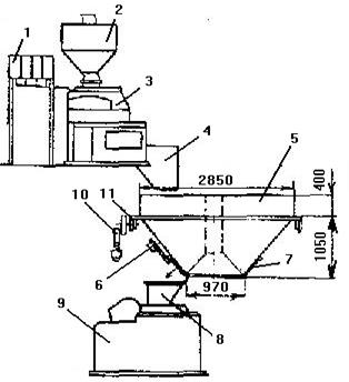
Бункерные тестоприготовительные агрегаты конструкции РМКУХП Леноблгорисполкомов

Бункерный тестоприготовительный агрегат конструкции РМКУХП Леноблгорисполкомов (рис. 5.5.) состоит из поворотного бродильного бункера 5 вместимостью от 3 до 6 м2, имеющего от 4 до 10 секций и тестомесильной машины 3. Бункер опирается на три ролика 11, два из которых являются приводными и вращаются от привода 10, а третий – поддерживающий. В тестомесильную машину 3 из автомукомера 2 подается мука, а из дозировочной станции 1 – жидкие компоненты теста. Замешенное тесто через тестоспуск 4 выгружается в одну из секций бродильного бункера. После заполнения секций бункер поворачивается на 1/n часть окружности (где n – число секций бункера) для загрузки тестом последующей секции.

После поворота бункера на (n-1)/n окружности механизм 6 открывает шибер 7 и выброженное тесто поступает в воронку 8 тестоделителя 9.

 

 
 

 

Рис. 5.5. Тесто приготовительный агрегат РМКУХП Леноблгорисполкомов.

1-дозировочная станция; 2-автомукомер; 3-тестомесильная машина; 4-тестоспуск; 5-бродильный бункер; 6-блокировочный механизм; 7-шибер; 8-воронка;

9-тестоделитель.

 

Выгрузка теста из бункера может производиться непосредственно в воронку тестоделителя, а при необходимости – при различных компоновках оборудования – в приемную стационарную воронку, из которой транспортирующим устройством (ленточным транспортером или лопастным нагнетателем) по тестопроводу тесто перемещается в наклонном направлении в воронку тестоделителя.

 


<== предыдущая страница | следующая страница ==>
Тестоприготовительный агрегат И8-ХТА-12 | Кольцевой конвейерный тестоприготовительный агрегат Ш2-ХБВ

Дата добавления: 2015-06-30; просмотров: 293; Нарушение авторских прав




Мы поможем в написании ваших работ!
lektsiopedia.org - Лекциопедия - 2013 год. | Страница сгенерирована за: 0.001 сек.