Студопедия

Мы поможем в написании ваших работ!




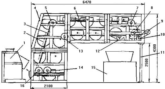
Кольцевой конвейерный тестоприготовительный агрегат Ш2-ХБВ

Агрегат Ш2-ХБВ (рис. 5.6.) состоит из жесткого кольцевого конвейера 4, на котором установлены восемь съемных дежей 5 вместимостью 330 литров, тестомесильной машины 3 и дежеопрокидывателя 2 (А2-ХПД). При этом подъемная площадка дежеопрокидывателя заменена специальным вилочным захватом 1 с реечным механизмом для съема дежей с кольцевого конвейера и перемещения их к дежеопрокидывателю с последующей фиксацией дежи для ее подъема и опрокидывания.

Кольцевой конвейер изготовлен из стали швеллерного профиля и периодически поворачивается вокруг своей оси. Кольца установлены на ролики, из которых два являются ведущими и вращаются от привода 7, а четыре 6 – опорными.

В тестомесильную машину 3 подаются мука из автомукомера и жидкие компоненты из соответствующей дозировочной аппаратуры. Замешанное тесто из тестомесильной машины выгружается в дежу, после заполнения которой кольцевой конвейер поворачивается на один шаг дежей.

 
 

Рис. 5.6. Тесто приготовительный агрегат Ш2-ХБВ.

1-вилочный захват; 2-дежеопрокидыватель; 3-тестомесильная машина;

4-кольцевой конвейер; 5-дежа; 6-опорные ролики; 7-привод.

 

При этом дежа с тестом перемещается на брожение и одновременно к тестомесильной машине устанавливается последующая освобожденная дежа. После перемещения дежи по кругу от тестомесильной машины до тестоопрокидывателя тесто выбраживает и дежа снимается с кольцевого конвейера для подъема и освобождения ее от теста.

 

Ковшевой конвейерный тестоприготовительный агрегат Ш2-ХББ.

 
 

Агрегат Ш2-ХББ (рис. 5.7.) состоит из четырех пар свободно вращающихся на отдельных пальцах цепных звездочки 5, 7, 13, 16. Пара звездочек 8 – приводная, а звездочек 14 – натяжные. На звездочки натянуты

 

Рис. 5.5.б. Тесто приготовительный агрегат Ш2-ХББ.

1-тестомесильная машина; 2-ковши; 3-направляюшие; 4-каркас; 5,7,13,16-цепные звездочки; 6-; 8-приводная звездочка; 9-промежуточный вал; 10-червячный редуктор; 11-стойки; 12-поворотный механизм; 14-натяжные звездочки; 15-тестоделитель.

 

две бесконечные втулочно-роликовые цепи с шагом 140 мм, которые перемещаются по направляющим 3. К цепям шарнирно укреплены через восемь звеньев ковши 2 с шагом 1120 мм вместимостью 330 литров. Конвейер смонтирован на каркасе 4 Г-образной формы, который состоит из 4-х секций. Консольная часть каркаса опирается на две стойки 11.

Привод конвейера осуществляется от электродвигателя (N=0,75 кВт, n=1000 об/мин) через червячный редуктор 10, цепную передачу, вращающую промежуточный вал 9, от которого через две цепные параллельные передачи вращаются приводные звездочки, укрепленные на отдельных пальцах.

Замешанное тесто из тестомесильной машины 1 выгружается в ковши для брожения. Заполненный тестом ковш перемещается на брожение, а последующий устанавливается под загрузку. В этот период при достижении механизма 12 ковш поворачивается на 1450 вокруг оси подвески и выброженное тесто поступает в воронку тестоделителя 15. При необходимости увеличение времени брожения в конструкции механизма 12 предусмотрено производить разгрузку после 11 или 12 ковша.

 

Таблица

Техническая характеристика тестоприготовительных агрегатов.

 

Наименование показателя ХТР И8-ХАГ-6 Л4-ХАГ-13 И8-ХТА-12 Ш2-ХБВ
Производительность, кг/ч
Суммарная емкость бродильного аппарата, м2 5,06 14,8 2,64
Суммарная мощность электродвигателей, кВт 11,68 20,8 20,7 14,04
Габаритные размеры, мм;          
длина
ширина
высота
Масса, кг

<== предыдущая страница | следующая страница ==>
Бункерные тестоприготовительные агрегаты конструкции РМКУХП Леноблгорисполкомов | Элементы расчета бункерных тестоприготовительных агрегатов

Дата добавления: 2015-06-30; просмотров: 722; Нарушение авторских прав




Мы поможем в написании ваших работ!
lektsiopedia.org - Лекциопедия - 2013 год. | Страница сгенерирована за: 0.001 сек.